包装机改造方案
目前,回转式水泥包装机成为水泥包装的主流产口。但如何在动态的条件下保证其运行的稳定可靠性,以及计量的准确性,成为一个突出问题,水泥生产企业对产品的性参质量要求越来越高。由于原设计的系统存在一些问题,效果很不理想。所以在其原有设备上进行改造。
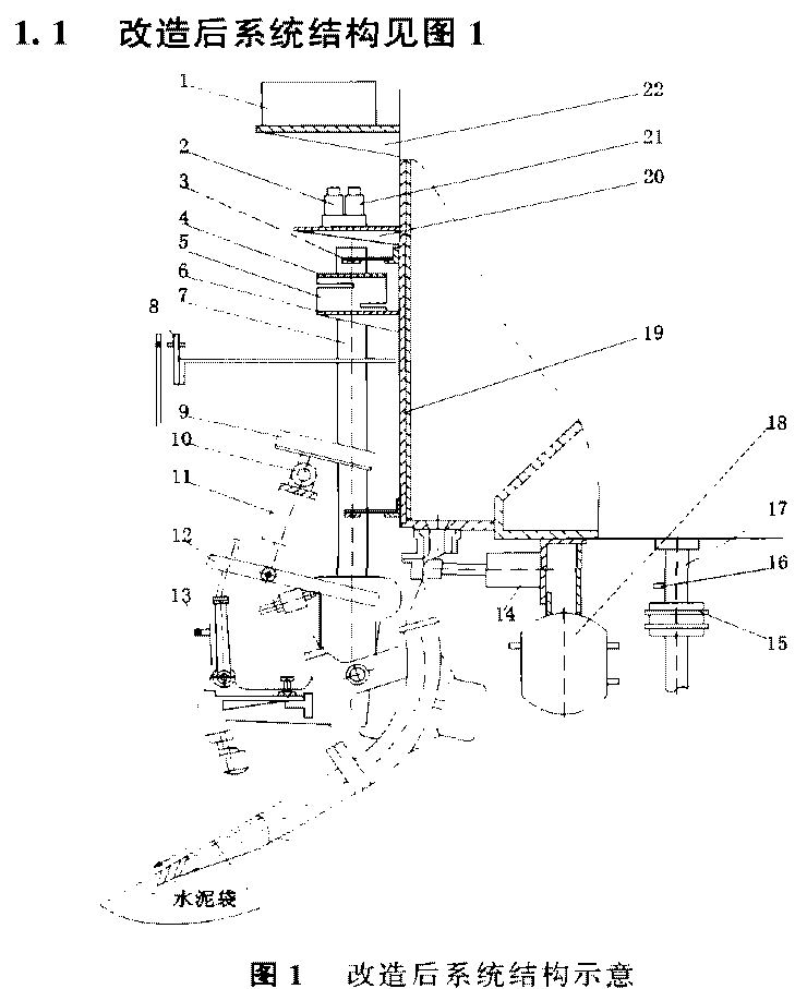
图1 改造后系统结构示意
1.1微电脑控制器;2.掉袋气缸电磁阀;3簧片;4.荷重支板;5.荷重传感器;6,托板;7.左右连杆;8掉袋开关;9.支座;10关节轴承;11.掉袋气缸;12.闸板;13控灰开关;14.控灰气缸;15.旋转阀;16.气管接头;17.导气管; 18.油水分离器;19.控灰电磁 。
1.2改机械系统为气动系统原系统中的闸板使用后易卡死是造成称量精度不高的主要原因。
原系统出料控制机构(挂钩,弹簧·合金片等)机械结构复杂,零部件多,连锁动作多,易损件多,加上机械加工的积累误差和零件间的相互磨损,导致出料控制的灵敏度下降。将这一部分结构改用l组电控阀、气缸的组合体,来控制水泥的灌装与关闭,既简单又灵敏。电控阀(21)安装在回转简体上的支板(20)上,接受微电脑控制显示器的指令,控制安装在回转简体下部的控灰气缸(14)的开关动作。这就提高了出料控制的灵敏度,为保证速度,重量准备了条件。
1.3 采用簧片固定结构
原设备的稳定机构的拉杆、顶针等零部件,与8组左右连杆相互交叉连成一体,很不容易调整。它的松紧状况直接影响到称量的灵敏度,为了保证单袋质量的合格,每运转一段时间,就要进行检查和调整,比较麻烦。取消此机构,采用4组簧片(3)稳定比较方便,簧片的一端固定在回转简体上,另一端固定在左右连杆上,既简单又可靠。
1.4 采用电控气动系统控制掉袋
原掉袋机构由于在使用过程中摩擦大,造成连接部位易松动,不易调整。因此,有些单位将此机构固定死,造成单袋水泥质量不论多少,经过此机构时都要掉袋,这是造成质量不足的主要原因。取消该掉袋控制机构后,在每个灰嘴上,采用l组电控气动组合体来实现自动掉袋。电控气动组合体由掉袋开关(8)、掉袋气缸电控阀(2)、掉袋气缸(11)、闸板(12)等组成,掉袋开关安装在1个固定在回转简体的支杆上,掉袋气缸电磁阀安装在回转简体的托板(2)上,掉袋气缸安装在与左右连杆(7)相连接的支座(9)上,气缸的前端与安装在闸板上的小轴相连接。当达到标准质量的水泥袋旋转到指定掉袋位置时,控灰开关(13)接通,微电脑控制显示器指示掉袋电磁阀工作,此时掉袋气缸收缩,带动闸板上行,达到标准质量的水泥袋从灌装嘴上脱落。掉袋动作的实现必须满足以下2个条件:①水泥袋达到设定的标准质量;②旋转到指定的掉袋位置,才可以实现掉袋动作。
1.5 新增加的这路导电系统采用220V‘电压,以供微电脑控制显示器使用。同时在导气管上引出一路压缩气进入油水分离器(18),以供电控阀与气缸工作使用。小气罐固定的安装在回转筒体的下面,小气罐的出气端通过气路与各个工作电磁阀、气缸相接通。改造后的电控气动原理结构。改造后的包装机实现了机、电、气一体化。
2 改造后的实用情况此技术改造已在包装机上实施,经过运行实践证明,改造后的包装机具有以下特点:
1)全自动控制——根据预定的质量参数与出料、掉袋等信号,通过电控气动装置,使其各工作点能及时准确地工作,自动实现出灰、称量、控灰、掉袋等循环过程和判别水泥袋是否插上的功能。
2)改造后的包装机,可以实现不插袋时不出水泥,及插袋后袋子不慎脱落时(不含超过5kg以上的重袋脱落),自动关闭此出灰嘴的功能。
3)改造后的包装机,仍只采用原有的4kW功率电动机就可以正常工作。
3 改造后的经济效果
1)由于包装机结构的变化,控灰灵敏度的提高,使单袋水泥质量精度提高,单袋的超标现象极少。
2)由于取消了原八嘴包装机的出料控制机构、稳定机构、称量系统和掉袋控制机构,减少了易损零配件,降低了配件消耗量,便于工作人员对设备的维修、调整与保养,同时减少了配件费与维修费。
3)按年销量80万t袋装水泥计算,每年可收回合法外流水泥2500t左右,因此改造1台水泥包装机所需要的资金是收回合法外流水泥费用十分之一。改造时间只需3天。

